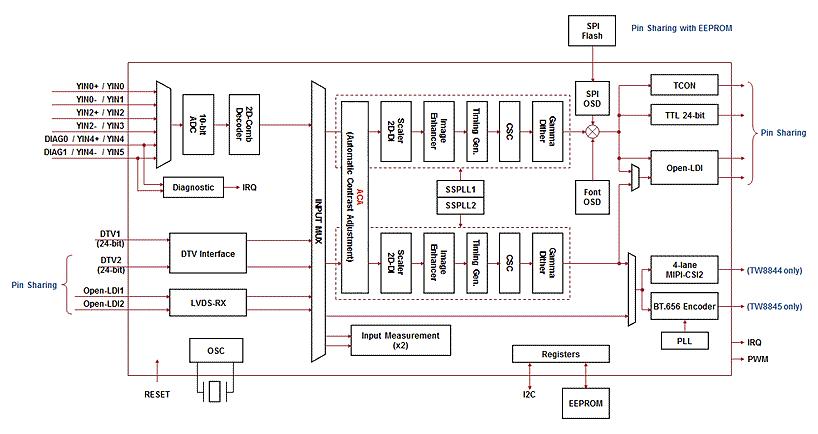
Référencé TW8844, le processeur vidéo d’Intersil (désormais dans le giron de Renesas) assure l’affichage instantané et en direct de l'image vidéo issue des signaux de la caméra de recul d’une voiture. ... Selon la société, ce circuit - qui s'interface avec la dernière génération des circuits SoC pour l’automobile (la famille R-Car de Renesas par exemple) - est le premier processeur vidéo à haute définition (résolution Full HD de 1920 x 1080 pixels sur des panneaux LCD) comprenant à la fois un décodeur vidéo analogique sur 10 bits, deux convertisseurs d’échelle (scalers) capables de traiter en simultané deux sources différentes, et une interface Mipi CSI-2 pour la communication vers le SoC.
Toujours selon Intersil, le TW8844 respecte les exigences de fiabilité des constructeurs automobiles en étant conforme à la spécification américaine FMVSS-11 (issue de l’organisme Federal Motor Vehicle Safety Standard). Cette nouvelle norme précise que la zone située derrière un véhicule doit être visible pour le conducteur lorsque celui-ci effectue une marche arrière, ce qui évite le problème des angles morts, l’objectif étant de réduire le nombre de décès et de blessures causés par des accidents lors d’une marche arrière d’une automobile. La norme FMVSS-111 exige ainsi que tous les véhicules neufs vendus aux États-Unis à partir de mai 2018 disposent de caméras de recul et impose que la vidéo issue de la caméra de recul soit activée moins de deux secondes après que le conducteur ait placé le véhicule en marche arrière. Le processeur vidéo TW8844 avec sa sortie Mipi CSI-2 va au-delà des exigences de cette spécification en affichant une vidéo en direct avec une superposition graphique en moins de 0,5 seconde après le démarrage du véhicule.
Intersil estime en outre qu’avec sa technologie les blocages ou arrêts logiciels au sein du système d'exploitation installé sur les SoC embarqués dans les véhicules (qui entraînent l'affichage d'une image fixe en lieu et place d’une image vidéo) sont éliminés grâce à la surveillance du SoC et des signaux de sortie de la caméra par le processeur graphique. Ce dernier peut alors décider seul, s'il détecte un problème, d’afficher instantanément la vidéo de la caméra de recul en “court-circuitant” le SoC.
« La fonction de détection d'état figé du TW884x, via deux moteurs de mesure, est intégrée au matériel pour déclencher un signal d'interruption si des seuils préétablis sont dépassés, explique Philip Chesley, vice-président senior des produits de précision à Intersil. Et ce en veillant à ce que la caméra de recul du véhicule soit conforme à la norme FMVSS-111 et que la vidéo en direct soit affichée instantanément. De plus, l'architecture de dérivation de la caméra de recul sépare le chemin du signal allant de la caméra vers l'écran de celui allant vers le système d'info-divertissement, ce qui permet aux constructeurs automobiles d'atteindre plus facilement un niveau de sécurité fonctionnelle ISO 26262 pour le système de caméra. »
Le circuit prend en charge les entrées vidéo composites différentielles, pseudo-différentielles et à simple extrémité (deux différentielles ou quatre à simple extrémité), deux ports d'entrée RGB numériques indépendants (RVB 24 bits à 160 MHz), deux ports d'entrée LVDS OpenLDI, une entrée Full HD (1080p) ou deux entrées HD (720p chacune).
Concrètement, le processeur TW8844, qualifié AEC-Q100 Grade 2 pour un fonctionnement opérationnel dans la gamme de température -40°C / +105°C, permet de migrer de systèmes de caméras analogiques vers des modèles numériques pour gérer les écrans sur le tableau de bord, les rétroviseurs à affichage intégral, les écrans de clusters d'instruments et les systèmes d’info-divertissement placés sur les appuie-têtes pour les deux passagers des sièges arrières.
Le processeur vidéo TW8844 avec sortie Mipi CSI-2 est disponible dès maintenant dans un boîtier LQFP de 14 x 20 mm de 156 broches et coûte 10 dollars l’unité pour une quantité de 1000 pièces.

